Научно-Производственное Объединение «Каскад-ГРУП»
428000, Россия, Чувашская Республика, г. Чебоксары, пр. Машиностроителей, д. 1 КГ
Телефон: (8352) 22-34-32,
Факс: (8352) 63-48-38
E-mail: abc@kaskad-asu.com
Автоматизированная система управления током серии в производстве алюминия
В 2019 году ООО «НПО «Каскад-ГРУП» г. Чебоксары выиграло тендер на замену комплекса ФЕСТО системы управления током 3-ей серии цеха электролиза ПАО «РУСАЛ Братск», филиал в г. Шелехов (ИркАЗ).
Комплекс ФЕСТО был введен в эксплуатацию в 1996 году. К настоящему времени элементная база комплекса устарела, технические средства выработали свой ресурс, в связи с чем руководством компании было принято решение о замене комплекса с сохранением его функционала.
Основная задача системы управления током 3-ей серии комплекса ФЕСТО – это стабилизация тока, которая осуществлялась путем управления положением РПН (регулятора напряжения под нагрузкой) на трансформаторах агрегатов, входящих в серию.
Согласно требованиям заказчика, монтаж нового комплекса необходимо было провести в условиях действующего производства с последовательным переключением работающих элементов на элементы новой системы. При этом время отключенного состояния каждого агрегата, входящего в серию, при выполнении монтажных и пусконаладочных работ должно было быть минимальным.
Архитектура системы
Вновь созданная система имеет трехуровневую иерархическую структуру, которую унаследовала от существующей системы, реализованной на базе комплекса ФЕСТО.
В соответствии с выбранной архитектурой специалисты компании НПО "Каскад-ГРУП":
• разработали проектную документацию системы и конструкторскую документацию на комплектные изделия – шкафы автоматики;
• установили изготовленные на собственном производстве шкафы автоматики и АРМ высокой заводской готовности;
• разработали технологическое, системное и прикладное программное обеспечение всей системы.
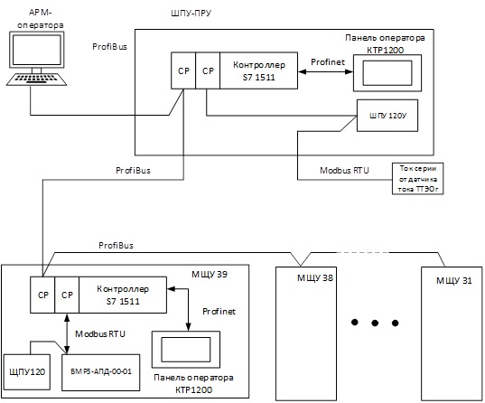
Новая структура автоматизированной системы управления током 3-й серии представлена на рис.1.
На нижнем уровне расположены 9 шкафов автоматики местного управления (МЩУ) кремниевыми выпрямительными агрегатами (КВА). Каждый агрегат КВА включает в себя силовой трансформатор и четыре вентильных преобразователя.
На среднем уровне расположен шкаф программного управления с элементами ручного управления агрегатами – шкаф автоматики ШПУ-ПРУ.
На верхнем уровне расположен АРМ оператора-технолога (далее по тексту – АРМ).

Местные щиты управления
МЩУ – местные щиты управления, установлены в зоне управляемых ими агрегатов и предназначены для выполнения следующих функций:
• защиты трансформатора и вентильных блоков;
• формирования предупредительной и аварийной сигнализации и индикации;
• сбора и передачи информации на верхний уровень – ШПУ-ПРУ и АРМ.
МЩУ может работать в двух режимах:
• «Местный» - когда управление агрегатом может осуществляться только от органов управления, расположенных на передней панели МЩУ;
• «Дистанционный» - когда управление агрегатом разрешается от шкафа ШПУ-ПРУ.
Шкафы автоматики (МЩУ-31 – МЩУ-39) воспринимают сигналы управления от ШПУ-ПРУ в виде замыкания «сухих контактов», получаемые по физическим линиям в режиме ручного управления. Управление возможно от контроллера ШПУ-ПРУ или АРМ в режиме автоматического управления. Контроллеры МЩУ связаны с контроллером ШПУ-ПРУ и АРМ по сети Profibus.
В МЩУ реализованы все требуемые защиты трансформатора и кремниевых выпрямительных блоков (БВК) управляемого им агрегата КВА. Перечень защит, их уставки, а также соответствующие им предупредительная и аварийная сигнализация приведены в таблице 1.

В отличие от заменяемых шкафов, выполненных на релейных элементах, в новых шкафах МЩУ производства ООО «НПО «Каскад-ГРУП» применена современная и высоконадежная элементная база: сбор информации о состоянии агрегатов выполнен на контроллерах Siemens S7-1500; все основные защиты трансформатора, вентильных блоков и масляного выключателя реализованы на базе микропроцессорного блока релейных защит БМРЗ-АПД-01 производства НТЦ «Механотроника». Новые шкафы более компактны, эргономичны и удобны в обслуживании. На рис. 2 и рис. 3 показаны для сравнения виды старых и новых шкафов МЩУ-39.
После завершения монтажных и пусконаладочных работ были выполнены работы по проверке защит, реализованных МЩУ. Проверка токовых защит осуществлялась с использованием измерительного устройства параметров релейной защиты РЕТОМ-11М производства ООО «НПП «Динамика» г. Чебоксары.


Шкаф автоматики программного управления и панель ручного управления (ШПУ-ПРУ)
ШПУ-ПРУ в структуре автоматизированной системы управления током представляет собой средний уровень в архитектуре системы и предназначен для:
- сбора и представления оперативной информации о состоянии агрегатов серии КВА-31 – КВА-39;
- управления работой агрегатов КВА-31 – КВА-39, путем передачи команд через соответствующий шкаф МЩУ как в автоматическом, так и в ручном режимах управления;
- управления током серии;
- формирования исходных данных для отчетов установленной формы, выдаваемых АРМ по запросам.
Управление током серии осуществляется:
- в «Ручном» режиме работы* - с помощью органов ручного управления расположенных на шкафу ШПУ-ПРУ;
- в «Автоматическом» режиме - по командам управления вырабатываемым регулятором тока серии;
- в режиме «Советчик» ** - при получении рекомендации («Совета») от автоматического регулятора тока оператор выдает разрешение на исполнение команды управления от регулятора тока.
Дизайн ШПУ-ПРУ разработан с учетом устоявшихся на производстве типовых технологий управления и способов получения информации оперативным персоналом.
На передней панели ШПУ-ПРУ размещены:
- элементы индикации состояния и органы управления силовыми размыкателями и шинными соединителями, составляющими элементы высоковольтной электрической силовой цепи питания силовых трансформаторов агрегатов серии;
- цифровые приборы, показывающие токи и напряжение на высоковольтных вводах, питающих трансформаторы агрегатов, входящих в левую и правую группу.
Графические элементы мнемосхемы нанесены на переднюю панель шкафа, при этом элементы, относящиеся к одному агрегату объединены территориально. Агрегаты и относящиеся к ним элементы индикации, управление которыми осуществляется одной группой, отделены от элементов другой группы. Это положительно влияет на оперативность оценки состояние работы агрегатов и скорость принятия решения по отклонениям от нормального хода технологического процесса.
ШПУ-ПРУ может работать в двух режимах:
- режиме «Ручного» управления, когда команды управления на агрегаты формируются от органов ручного управления, расположенных на передней панели шкафа;
- режиме «Автоматического» управления, когда управление током серии осуществляет регулятор тока серии, работающий в «Автоматическом» режиме
* В режиме«Ручного» управление от контроллера ШПУ-ПРУ (работа регулятора тока серии в автоматическом режиме) запрещено конструктивным решением.
** Режим «Советчик» удобен для отладки работы регулятора тока серии. Техническими требованиями Заказчика данный режим изначально не предусматривался. В ходе реализации проекта он был добавлен по инициативе Исполнителя и показал хороший эффект при освоении оперативным персоналом нового комплекса программно-технических средств автоматизированной системы управления током серии и был введен в состав системы как дополнительный подрежим.

Регулятор тока серии – основной элемент автоматизированной системы управления током серии
Основным элементом, обеспечивающим выполнение целевой функции системы стабилизации тока серии, является регулятор тока. Структурная схема регулятора тока серии представлена на рисунке 6.
Регулятор тока серии выполнен как каскадный регулятор, в котором основной регулятор обеспечивает поддержание тока серии равным заданному значению. Корректирующий регулятор обеспечивает изменение задания основному регулятору. Основное назначение корректирующего регулятора – ликвидация «статизма» основного регулятора. Статизм основного регулятора это ошибка регулирования, обусловленная тем, что регулирование осуществляется путем ступенчатого изменения положения РПН агрегатов, что вызывает ступенчатое приращение тока.
Регулятор тока серии может работать в следующих режимах
1. «Автоматический» режим, который имеет два подрежима:
- подрежим «Прямого управления» (ПУ), когда выход регулятора непосредственно связан с объектом управления, т.е. работа осуществляется полностью в автоматическом режиме;
- подрежим «Советчик», когда команды, вырабатываемые регулятором тока, поступают на объект после их подтверждения оператором. При выработке регулятором команды она поступает в виде текстового сообщения – «Совета» - на панель оператора ШПУ-ПРУ и АРМ для информирования оператора о рекомендуемых автоматизированной системой действиях. Оператор может согласиться с предлагаемой рекомендацией и нажать виртуальную кнопку «ДА» на панели оператора или АРМ для выполнения команды, либо проигнорировать предлагаемое регулятором действие и не нажимать кнопку «ДА», в этом случае команда не выполняется. Если условия, вызвавшие появление рекомендации, исчезают, то «Совет» регулятора исчезает с панели оператора и АРМ. Подрежим «Советчик» рекомендуется ставить при отладке регулятора с новыми уставками настройки.
2. «Ручной» режим, когда выход контроллера (регулятора) отключен от объекта управления, и команды, формируемые контроллером, не могут воздействовать на объект управления. В этом случае управление объектом осуществляется оператором путем воздействия на органы ручного управления, расположенными на панели ШПУ-ПРУ.
Режим устанавливается переключателем на панели ШПУ-ПРУ или с панели оператора ШПУ-ПРУ или с АРМ.
Описание работы регулятора тока серии
Регулирование тока серии осуществляется путем изменения положения РПН агрегатов. В серии агрегаты распределены в два плеча. Пять агрегатов КВА-31 по КВА-35 составляют правое плечо, а четыре агрегата КВА-36 по КВА-39 составляют левое плечо. Управление током серии осуществляется плечами, т.е. осуществляется одновременное переключение РПН агрегатов, входящих в одно из плеч. При необходимости увеличить ток серии РПН повыша-ется, т.е. переключается на более высокую степень, а при необходимости уменьшить – на более низкую.
Для определения величины возможных изменений (приращения/уменьшения) тока серии при ступенчатом изменении положения РПН были проведены испытания, при которых производилось ступенчатое изменение положения РПН по плечам как на понижение, так и на повышение. В результате испытаний было выяснено, что в зависимости от текущего положения РПН переключение ступеней вниз или вверх вызывает различные изменения тока серии. Результаты испытаний приведены в таблице 2.
По результатам испытаний видно, что изменение тока серии при различных состояниях РПН агрегатов одного из плеч может изменяться от 1,3 кА до 3.7 кА, и это накладывает определенные ограничения на настройки регулятора тока серии.

Основные требования к работе регулятора тока серии были определены заказчиком в техническом регламенте, который устанавливает требования к параметрам процесса управления энергетическими параметрами серии:
- отклонение среднего тока за 1 час от заданного значения должно быть не более ± 3,6 кА;
- отклонение среднего тока за смену от заданного значения должно быть не более ± 1,6 кА;
- отклонение среднего тока за календарные сутки от заданного значения должно быть не более ± 0,5 кА.
Регулятор тока серии реализован в контроллере шкафа ШПУ-ПРУ и выполнен по каскадной схеме. Структурная схема регулятора тока серии приведена на рисунке 6.
В зависимости от решаемых на производстве задач, уставка тока серии может меняться на каждый час текущих суток. Значения уставки задаются утвержденным расписанием, которое вводится оператором в систему. Текущие сутки начинаются с 7-00 час. и заканчиваются в 6 час. 59 мин. 59 сек. следующего календарного дня.

Стабилизирующий регулятор тока серии
Основным элементом регулятора тока серии является стабилизирующий регулятор, который выполнен в виде релейного элемента с зоной нечувствительности. На входе регулятора, куда поступает задание и фактический ток серии, определяется ошибка регулирования как разность между заданием и фактическим током серии. Если ошибка превышает зону нечувствительности, то основной регулятор выдает команду на переключение РПН. При отрицательном значении ошибки выдается команда на понижении РПН, а при положительном – на увеличении. Величина зоны нечувствительности определяется, с учетом результатов испытаний, приведенных в таблице 2. Установленная зона нечувствительности не должна приводить к автоколебаниям системы при скачках тока, вызванных переключением РПН.
На выходе регулятора тока серии имеется логический блок выбора плеча и блокировки (БВПиБ), который определяет на какое из плеч должна поступать команда управления РПН.
Наличие данного блока обеспечивает:
- равенство положений РПН агрегатов в плече, т.е. расхождение не больше чем на одну ступень;
- блокировку запрещенных состояний;
- равномерность переключений РПН по плечам.
Алгоритм работы блок выбора плеча и блокировки следующий.
При необходимости увеличить ток серии, подается команда на увеличение РПН:
- на агрегаты (плечо) у которых положение РПН ниже чем у агрегатов другого плеча;
- при равенстве положений РПН переключается плечо, в котором количество переключений меньше;
- при равенстве количества переключений переключается плечо, включающее большее количество работающих агрегатов;
- при равенстве количества работающих агрегатов переключается правое плечо.
При необходимости уменьшить ток серии подается команда на уменьшение РПН:
- на агрегаты (плечо) у которых положение РПН выше чем у агрегатов другого плеча;
- при равенстве положений РПН переключается плечо, в котором количество переклю-чений меньше;
- при равенстве количества переключений переключается плечо, включающее меньшее количество работающих агрегатов;
- при равенстве количества работающих агрегатов переключается правое плечо.
БВПиБ осуществляет контроль разрешенных состояний агрегатов, которые задаются таблицей разрешенных состояний и записаны в память контроллера, на котором реализован регулятор тока серии. Отключенные или переведенные в режим «Местное управление» агрегаты (КВА) исключаются из анализируемых БВПиБ и управление РПН от ШПУ-ПРУ на данных агрегатах в автоматическом режиме не производится.
Выход основного регулятора тока серии можно отключать от объекта регулирования, переключив режим работы с «Автомат» на «Ручное» на панели ШПУ-ПРУ или с АРМ.
В процессе работы цеха электролиза (ЦЭ) периодически наблюдаются резкие скачки напряжения на корпусах – это так называемые «вспышки» или «анодные эффекты» (АЭ). В периоды действия АЭ (вспышек) наблюдается резкое и существенное понижение тока серии, обусловленное увеличением падения напряжения серии на ваннах цеха электролиза.
В периоды действия АЭ нежелательно осуществлять стабилизацию тока серии, т.к., во-первых, это приводит к частым переключениям РПН, что вызывает их преждевременный износ и во-вторых при ликвидации АЭ напряжение серии скачком уменьшается, что вызывает резкий рост тока на агрегатах серии и может привести к перегрузке агрегата и его отключению.
Для решения описанной проблемы БВПиП осуществляет контроль напряжения на корпусах электролизного цеха и при резком увеличении напряжения, определяемом как анодный эффект (вспышка), блокирует выход регулятора тока серии на время 5 минут. Время задается в настройках регулятора. В течении указанного времени никаких переключений РПН в автоматическом режиме не выполняется, за исключением переключений, связанных с защитами и другими блокировками. Вспышка определяется как резкое увеличение напряжения на 10-20 В, а анодный эффект определяется как резкое увеличение напряжения на 40 В и более. Обычно АЭ (вспышка) длится не более 2-5 минут. При возникновении вспышек или АЭ на панель оператора и АРМ-оператора выдается информация «Вспышка, Анодный эффект». Когда напряжение корпусах возвращается к первоначальному значению ±5 В, то регулятор тока серии возвращается в работу автоматическом режиме, который был уста-новлен до АЭ. Если оператором был установлен режим «Ручное», то этот режим сохраняется.
На входе основного регулятора имеется переключатель «Ручное»/«Каскадное», позволяющий подавать на вход основному регулятору сигнал «Задание тока серии» установленное оператором, либо задание тока серии с выхода корректирующего - каскадного регулятора.
Корректирующий регулятор регулятора тока серии
В связи с тем, что управление током осуществляется путем переключения РПН, которые вызывают различные по величине и ступенчатые по форме изменения тока серии, то по этой причине ток серии всегда будет отличаться от расчетного значения и со временем будет накапливаться ошибка по среднему току серии и количеству электричества отпущенного в цех электролиза (ЦЭ). Ступенчатое регулирование тока накладывает определенные трудно-сти по выполнению требований регламента по точности поддержания среднего тока серии за час, за смену и за сутки.
Для решения этой проблемы в регулятор тока серии введен корректирующий регулятор, который стремится обеспечить отпуск в цех электролиза заданное количество электричества по часам, по каждой смене и за сутки путем изменения задания основному регулятору.
Корректирующий регулятор является каскадным по отношения к основному регулятору тока серии и служит для формирования задания тока серии основному регулятору.
На корректирующий регулятор поступают установленное на данный час задание по току серии и фактическое значение тока серии. Корректирующий регулятор подсчитывает количество ампер-часов, выданное в ЦЭ на каждый текущий момент времени, сравнивает результат с количеством электричества, которое должно быть отпущено в ЦЭ при заданном токе серии, определяет отклонение, вычисляет коррекцию к текущему заданию основному регулятору тока и выдает на вход основного регулятора тока серии новое значение задания. Заданный ток серии – это значение, устанавливаемое оперативным персоналом в настрой-ках регулятора (см. рис.7) как требуемый ток серии на текущий час.

Корректирующий регулятор работает непрерывно, независимо от работы основного регулятора и осуществляет свою работу с циклом в один час. В начале каждого цикла к количеству электричества, которое должно быть отпущено в ЦЭ при заданном токе серии, добавляется количество электричества, которое серия не выдала в ЦЭ или уменьшается на количество электричества, на которое серия превысила количество электричества, отдаваемое в ЦЭ в соответствии с заданием на конец предыдущего часа. По окончанию текущих суток корректирующий регулятор обнуляется и новые сутки начинаются без коррекции.
АРМ оператора-технолога, представление оперативной информации и формирование отчетов
АРМ обеспечивает возможность формирования сменных отчетов с часовыми показателями тока и напряжений серии, суточного рапорт оператора с основными контролируемыми показателями серии. Предусмотрена печать формируемых отчетов на принтер, с последующим сохранением файла в формате Microsoft Excel.
На мониторе АРМ оперативный персонал имеет возможность контролировать работу всех агрегатов серии. На рисунке 8 представлена основная мнемосхема, где показаны все агрегаты серии.

Оператор может вызвать на экран монитора АРМ информацию по любому агрегату «кликнув» на агрегат и получить более детальную информацию о режимах работы, аварийных и предаварийных состояниях, токах в обмотках трансформатора и на выходах вентильных блоков. Вид мнемосхемы агрегата КВА-31 приведен на рисунке 9.

АРМ позволяет контролировать в текущем режиме ток серии и напряжение на корпусах электролизного цеха. Пример графиков тока и напряжения приведены на рисунке 10.
АРМ формирует различные формы отчетов, определенные заказчиком. На рисунке 11 приведен один из возможных отчетов – отчет по средним часовым токам серии.


Заключение
По окончании всех пусконаладочных работ были проведены комплексные испытания работы регулятора тока серии в автоматическом режиме. В результате испытаний были получены следующие данные:
• при требуемой регламентом точности на средний часовой ток ±3.6 кА, фактические отклонения не превышали ±1,5 кА;
• при требуемой регламентом точности на средний за смену ток ±1.6 кА, фактические отклонения не превышали ±0.6 кА;
• при требуемой регламентом точности на средний ток за текущие сутки ±0.5 кА, фак-тические отклонения не превышали ±0.3 кА;
Весь комплекс работ, проведенный специалистами ООО «НПО «Каскад-ГРУП» в тесном взаимодействии с квалифицированными сотрудниками Заказчика с учетом возрастающих требований к современной продукции рынка автоматизации, позволил получить новую продукцию высокого научно-технического уровня. Вновь созданная автоматизированная система управления током серии – полноценный отечественный аналог уже существующих систем. При этом, по сути, регулятор тока серии ООО «НПО «Каскад-ГРУП» является новой и эффективной разработкой, существенно улучшающей характеристики системы.
Система получена при соблюдении полного жизненного цикла создания новой продукции и адаптирована для использования на ответственных участках ведущих производителей страны.
ООО «НПО «Каскад-ГРУП»
А. М. Прокопьев, главный специалист по автоматизации
В. С. Андреев, генеральный директор
В. И. Никифоров, главный специалист по автоматизации
ООО «Инжиниринг Строительство Обслуживание» ф-л в г. Шелехов
А. Н. Филиппов, директор ДРОЭО
А. А. Эле, менеджер ПТО ДРОЭО
Современные подходы к обеспечению информационной безопасности в АСУ ТП: практический подход НПО «Каскад-ГРУП»
Кроссплатформенное развитие SCADA-системы «КАСКАД». Поддержка отечественных операционных систем в рамках реализации программы импортозамещения
SCADA-система «КАСКАД»: Runtime-среда для ОС Linux
SoftLogic-система «KLogic» и роутеры Телеофис: мощный инструмент диспетчеризации и автоматизации для распределенных объектов, требующих резервирования каналов связи любой сложности
Математическая модель системы управления током серии (на примере 3-й серии цеха электролиза ИркАз)
Применение интеллектуальных шлюзов для интеграции разнородных устройств в единую автоматизированную систему